jazzo
phrenia
.ru
Разделы
Мудрость в деталях
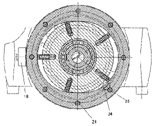
Фотографии исполнительных схем установки насосов
Раздел:
Мудрость в деталях